皇冠信用开户申请 _刚刚,跳水!超20万人爆仓
皇冠信用网代理出租(www.hgty.us)-开会_员出_租平_台)皇冠信用网/—开会员账号—(招登1登2登3(足球平台出租)【导读】加密货币市场集体走低皇冠信用开户申请 ,超20万人被爆仓
中国基金报记者 晨曦
刚刚皇冠信用开户申请 ,加密货币市场再度跳水!
10月14日晚间,比特币再度走低,一度跌破11万美元,跌幅达4.6%皇冠信用开户申请 。

以太坊一度跌破3900美元,跌幅超8%皇冠信用开户申请 。

主流加密货币集体走低,狗狗币、币安币、艾达币等均大幅下跌皇冠信用开户申请 。

展开全文
CoinGlass数据显示,最近24小时,全球共有20.66万人被爆仓,爆仓总金额为6.56亿美元,其中,多单爆仓4.75亿美元,空单爆仓1.82亿美元皇冠信用开户申请 。

美股加密货币概念股普跌皇冠信用开户申请 。

此外,根据德勤近期研究,约25%的比特币可能暴露在量子攻击风险下皇冠信用开户申请 。若这些比特币未能及时转移至抗量子地址,待强大量子运算机投入使用后,可能造成数千亿乃至兆美元的损失。数字资产管理公司Capriole Investment创始人、长期比特币倡导者Charles Edwards指出,量子运算威胁远比普遍认知的更迫近,并敦促社区在2026年前构建防御体系。
北京时间周三凌晨00:20,美联储主席鲍威尔将在全美商业经济协会举办的活动上发表讲话,主题为《经济展望与货币政策》皇冠信用开户申请 。业内认为,鲍威尔的讲话可能左右市场对降息节奏及整体货币政策的预期,从而决定当前加密货币市场的下行趋势是加剧还是企稳。
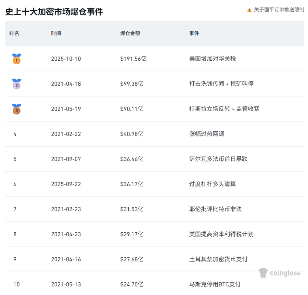
就在上周,美国总统特朗普发布关税威胁,加密货币市场遭遇“大清洗”,主流币种集体大跌皇冠信用开户申请 。CoinGlass数据显示,10月10日爆仓金额超191亿美元,居于历史首位。随后虽有所回升,但当天暴跌的“创伤”仍令投资者心有余悸。

区块链数据公司Santiment指出,上周五的抛售并非单纯受关税消息驱动皇冠信用开户申请 。散户交易者迅速将暴跌归咎于关税对峙,但更深层的结构性问题正在积聚,包括过度杠杆和多头仓位的极端集中。
TD Cowen分析师在近期报告中表示,美国参议员们在推动加密货币市场结构法案通过一事上行动迟缓,这可能导致该法案的通过时间推迟至中期选举之后皇冠信用开户申请 。
过去一年,已有多名民主党人对特朗普总统与数字资产的关联表示担忧,这一情况反过来使立法进程变得更加复杂皇冠信用开户申请 。据计算,特朗普通过其家族的加密货币项目(包括World Liberty Financial去中心化金融稳定币项目,以及“TRUMP”“MELANIA”两款迷因币)已获利约6.2亿美元。
编辑:黄梅
校对:王玥
制作:舰长
审核:陈墨
版权声明
《中国基金报》对本平台所刊载的原创内容享有著作权,未经授权禁止转载,否则将追究法律责任皇冠信用开户申请 。
猜你喜欢
- 2025-12-30雅库布斯托尔法vs卢卡斯托纳尔 _凌晨3点屏东以南发生激烈对峙,052D不顾阻扰,强行压向台护卫舰!
- 2025-12-30世界杯2026比分 _搞权色交易、钱色交易!上海立信会计金融学院原党委副书记受贿案宣判
- 2025-12-30意大利vs爱沙尼亚比分 _新疆维吾尔自治区人民政府副主席陈伟俊被免职
- 2025-12-30东京养乐多燕子队vs广岛东洋鲤鱼队 _中国女篮运动员李月汝官宣在塞尔维亚组建球队
- 2025-12-29安山小绿人vs华城 _男子出狱6天后砍死妻子一审被判死刑,缓期两年执行并限制减刑
- 2025-12-29岐阜vs琉球 _男子和妻子去补办结婚证,发现自己户籍上多了2个叫“静静”的媳妇,自己结婚离婚4次,期间还曾买车买房
- 2025-12-29富山胜利vs熊本深红 _换人立竿见影!替补登场的皮奥助攻劳塔罗破门,国米1-0亚特兰大
- 2025-12-29神户胜利船vs 横滨 _数万星链发起“围攻”,中国六战六捷,对美完成降维打击
- 2025-12-29华城vs 忠南牙山 _中方对美反击正式打响,中方30道禁令发往美国,合作被叫停,美方强烈抗议!
- 2025-12-29布雷达(女)vs 费耶诺德(女) _“墨色无变化”,故宫出借米芾《行书三札卷》被指是复制品,江西博物馆发声明回应:展品为原件
- 2025-12-28德岛漩涡vs秋田蓝色闪电 _不给洪森父子拼命,柬军跑了:泰国缴获中械摆一地,越南武器参战
- 2025-12-28格鲁吉亚 vs 保加利亚 _国安部:退伍军人赵某经常在网络发布着军装照片,被境外人员盯上以高额“报酬”收买,多次“泄密”军队信息


网友评论